Jump to main content
Objective user manual
7.x
Preface
Introduction
Applications
General
MES
WMS
WFM
Index
Search
Home
WFM
T & A
Registrations
Supervision
Attendances
Attendance Statuses
WFM
Work Force Management Engine
T & A
Cost profiles and cost centers
Registrations
Configuration
Supervision
View the properties of a day code
Attendances
Attendance Statuses
Attendance Clockings
Attendance overview (via the tab Overview)
Gantt overview of the attendance
Overview of the current attendance statuses
Login/logout employees
Absences
Info Clockings
Cost Center Clockings
Reporting
Processing
Balance Counters
CRP
Access Control
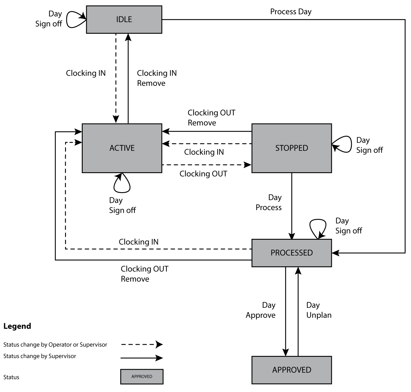
Attendance Statuses
Figure:
Attendance Statuses